2019-01-15 14:16:59 来源:网络发表评论
【福利】38小时财会基础课
初级会计:2022初会考试时间 考纲下载 【0元】会计0基础小白学习直播合集
注会: 2022报名|考试时间考纲下载 【0元录播】18小时入门课 【0元直播合集】
免费资料: 会计口诀 思维导图 速记手册 3年真题/冲刺卷 分录大全 29个工资文档等
【0元直播】CPA小白入门课-报名备考规划 初级会计-小白基础急救课
2019年证券从业资格考试采用网上报名的方式,考生需登录中国证券业协会进行报名和缴费。报名分为信息注册维护、选择科目、选择考区、网上缴费等四个步骤。

证券从业资格考试报名详细流程如下图所示:
1.1 考生注册
考生访问发布的网报系统网址,进入登录界面,如下图所示:

点击“注册”按钮,进入考生注册页面,如下图所示:

填写相应的注册信息后,点击“注册”按钮,再次核对填报信息,校验无误后,完成注册。
1.2 登录系统
进入登录界面,如下图所示:

输入登录名、密码、验证码,点击“登录”按钮进入报名系统界面。
1.3 注册信息维护
通过点击系统导航菜单中“注册信息维护”选项,可跳转到修改注册信息页面,如下图所示:

在此页面可以完成对考生个人信息的修改。
1.4 考生报名
考生登录系统后,选择需要报考的考试,如下图所示:

点击考试名称后,进入考生承诺的页面,如下图所示:

通过点击“接受”按钮,跳转到填写考生信息页面,如下图所示:

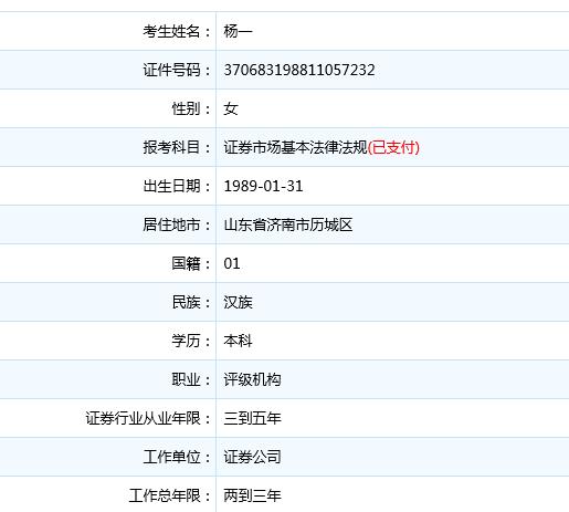
考生填写个人的报考信息后,点击“保存”按钮后,提示保存成功,可跳转到报考流程页面,如下图所示:

点击“信息维护”按钮,可对填写过的报考信息进行修改,修改完成后,点击“保存”按钮即可。
点击“选择科目”选项,跳转到选择科目界面,如下图所示:

选择完成后,点击“保存”按钮,提示保存成功,可以跳转到报考流程页面,如下图所示:

点击“选择考区”按钮,跳转到选择考区页面,如下图所示:

选择地市,点击“保存”按钮,提示保存成功,可以跳转到报考流程页面,如下图所示:

点击“网上缴费”按钮,跳转到网上缴费页面,如下图所示:

考生可以根据自己的情况选择支付的网关,选择完成后点击“生成订单”按钮,可以生成订单,如下图所示:

订单确认无误后,点击“支付”按钮,成功后再点击“支付完毕”按钮完成网上支付操作操作,如下图所示:

缴费完成后,报名流程完成:

1.5 查看报考状态
点击系统导航菜单的“查看报考状态”选项,查看当前的报考状态,如下图所示:

点击“信息维护”按钮,可进行报考信息修改;点击“选择科目”按钮,可选择其他考试,进行报考;点击“选择考区”按钮,可重新选择考区。
1.6 查看报考信息
点击系统导航菜单的“查看报考信息”选项,可进入查看考生报考信息的页面,如下图所示:

1.7 发票邮寄申请
点击系统导航菜单的“发票邮寄申请”选项,可进入发票邮寄申请页面,如下图所示:

选择邮寄方式、填写发票抬头信息、所属地区、详细地址即收件地址、收件人、邮编、手机号码等信息,点击保存按钮,即可等待邮寄。
1.8 发票邮寄状态查询
点击系统导航菜单的“发票邮寄状态查询”选项,可进入发票邮寄状态查询页面,显示发票的邮寄状态。
1.9 打印准考证
点击系统导航菜单的“打印准考证”选项,可进入准考证打印页面,如下图所示:


点击“打印”按钮,即可打印出准考证。
1.10 报考日志查询
点击系统导航菜单的“报考日志”选项,进入报考日志页面,如下图所示:

1.11 修改密码
通过点击系统右上角的“修改密码”选项,可跳转到修改密码页面,如下图所示:

在该界面可以对考生的登录密码进行修改。
1.12 安全退出
通过点击系统右上角的“安全退出”按钮,如下图所示:

可以安全的退出系统。
本文关键字: 2019年证券从业资格考试
| 新东方-初级会计 | 【考不过退费】2022年初级会计无忧计划 | ¥2980 | 500代金券 |
| 【高性价比】2022年初级会计全程班 | ¥199 | 50代金券 | |
| 【0元直播】初会小白基础急救课 | ¥0 | 点击报名 | |
| 新东方-注会 | 【高性价比】2022注册会计师直通车 | ¥3998/3年 | 1000代金券 |
| 【录播】注册会计师18小时入门课 | ¥0 | 点我领取 | |
| 【直播】CPA报名在即,备考迫在眉睫 | ¥0 | 点我领取 | |
其他 |
2022财经系列零基础入门课(30小时) | ¥1 | 点我领取 |
| 【免费课程】大学生必考证书解析 | ¥0 | 点我领取 | |
| 【免费课程】人人必需的财务思维 | ¥0 | 点我领取 |